Le brevet US6506148B2 confirme la manipulation du système nerveux humain à travers la TV et les ordinateurs
Il est difficile de trouver des informations sur un certain Hendricus G. Loos, malgré le fait qu’il ait déposé plusieurs demandes de brevet, avec succès, pour des appareils qui traitent de la manipulation du système nerveux humain via un écran d’ordinateur ou un moniteur de télévision. En résumé, il explique ce qui suit :
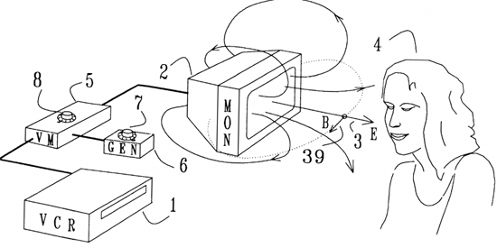
« Des effets physiologiques ont été observés chez un sujet humain en réponse à une stimulation de la peau avec des champs électromagnétiques faibles qui sont pulsés à des fréquences proches de ½ Hz ou 2,4 Hz, tels que l’excitation d’une résonance sensorielle. De nombreux écrans d’ordinateurs et de téléviseurs, lorsqu’ils affichent des images pulsées, émettent des champs électromagnétiques pulsés d’amplitude suffisante pour provoquer une telle excitation. Il est donc possible de manipuler le système nerveux d’un sujet par des images pulsantes affichées sur un écran d’ordinateur ou un téléviseur à proximité. Dans ce dernier cas, l’impulsion d’image peut être insérée dans le matériel de programme, ou elle peut être superposée en modulant un flux vidéo, soit comme signal RF, soit comme signal vidéo. L’image affichée sur un écran d’ordinateur peut être pulsée efficacement par un simple programme informatique. Pour certains moniteurs, des champs électromagnétiques pulsés capables de résonances sensorielles excitantes chez des sujets proches peuvent être générés même si les images affichées sont pulsées avec une intensité subliminale. »
Ce qui est préoccupant à ce sujet, comme l’explique le brevet, c’est que même une pulsation très faible peut avoir des effets néfastes sur le système nerveux humain.
Il poursuit en décrivant que la variabilité et la force des impulsions peuvent être contrôlées à l’aide d’un logiciel et explique, en ce qui concerne un moniteur d’ordinateur, des DVD, des cassettes vidéo et plus encore, comment il est possible de les commander à distance à partir d’un autre endroit.
La partie la plus inquiétante est peut-être celle-ci :
« Certains moniteurs peuvent émettre des impulsions de champ électromagnétique qui excitent une résonance sensorielle chez un sujet proche, par des impulsions d’image si faibles qu’elles sont subliminales. C’est dommage, car cela ouvre la voie à une application malicieuse de l’invention, qui expose les gens à manipuler involontairement leur système nerveux pour les besoins de quelqu’un d’autre. Une telle application serait contraire à l’éthique et n’est évidemment pas recommandée. C’est mentionné ici afin d’alerter le public sur la possibilité d’abus cachés qui peuvent se produire en ligne, ou en regardant la télévision, une vidéo ou un DVD. »
L’application est pleine d’exemples cités que « le système nerveux d’un sujet peut être manipulé par des impulsions électromagnétiques émises par un tube cathodique ou un moniteur LCD qui affiche des images avec une intensité pulsée ».
Notre système nerveux contrôle tout dans notre corps, y compris le cerveau. C’est un réseau de nerfs et de cellules qui transmettent des messages du cerveau et de la moelle épinière à diverses parties du corps, et ce n’est un secret pour personne que le gouvernement des États-Unis, entre autres, a une longue histoire d’expériences sur des êtres humains à des fins de contrôle mental. La télévision pourrait-elle être une tactique de contrôle mental ? Cela expliquerait pourquoi tant de gens croient aux histoires et aux explications d’événements qui leur sont présentés par les médias grand public, instantanément, sans même se poser des questions.
Dans certains cas, nous sommes faits pour idolâtrer ce que nous voyons à la télé, comme des célébrités, et imiter le comportement et les désirs.
Parfois, une perspective qui est étayée par des preuves, qui contrecarre complètement l’histoire et l’information que nous recevons des médias grand public, est jetée dans le « monde de la conspiration ». C’est dangereux, avons-nous atteint un point où nos télévisions réfléchissent pour nous ? Pourraient-elles utiliser les techniques décrites ci-dessus pour influencer nos pensées, nos comportements et nos perceptions ?
Compte tenu de ce que nous savons de nos gouvernements et des mesures contraires à l’éthique qu’ils ont prises tout au long de l’histoire, ce n’est vraiment pas inenvisageable.
Il y a une raison pour laquelle les avions et les hôpitaux interdisent l’utilisation des téléphones cellulaires, c’est parce que leurs transmissions électromagnétiques interfèrent avec les appareils électriques critiques. Le cerveau n’est pas différent, c’est un organe bioélectrique extrêmement complexe qui génère des champs électriques. Les scientifiques peuvent en fait contrôler le fonctionnement du cerveau grâce à la stimulation magnétique transcrânienne (SMT), une technique qui utilise de puissantes impulsions de rayonnement électromagnétique émises dans le cerveau d’une personne pour brouiller ou exciter des circuits cérébraux particuliers.
C’est le même genre de chose que celle décrite dans le brevet, alors dans quelle mesure nos écrans d’ordinateur et de télévision le font-ils ? C’est pourquoi, par exemple, lorsque quelqu’un allume sa Playstation, l’écran lui demande de lire les informations importantes sur la santé avant de jouer. Des recherches ont également démontré que les simples transmissions par téléphone cellulaire peuvent affecter de façon assez significative les ondes cérébrales d’une personne, ce qui à son tour a des effets sur son comportement.
« Le rayonnement électromagnétique peut avoir un effet sur le comportement mental quand il émet à la bonne fréquence. » James Horne, du Centre de recherche sur le sommeil de l’Université de Loughborough (source)
Non seulement cela, mais des centaines de scientifiques se sont rassemblés et sont en train de sensibiliser les Nations Unies aux effets des rayonnements électromagnétiques sur la santé et de faire des pétitions à ce sujet.

Dr Martin Blank
L’initiative a été lancée par le Dr Martin Blank, Ph.D. du Département de physiologie et de biophysique cellulaire de l’Université de Colombie, qui s’est joint à un groupe de scientifiques du monde entier pour lancer un appel international aux Nations Unies concernant les dangers liés à l’utilisation de divers dispositifs émettant des émissions électromagnétiques, tels que les téléphones cellulaires et le WiFi.
Le Dr Martin Blank, du Département de physiologie et de biophysique cellulaire de l’Université Columbia, a déclaré dans un message vidéo : « Ils endommagent les cellules vivantes de notre corps et tuent beaucoup d’entre nous prématurément. »
« Nous avons créé quelque chose qui nous nuit, et cela devient incontrôlable. Avant l’ampoule d’Edison, il y avait très peu de rayonnement électromagnétique dans notre environnement. Les niveaux d’aujourd’hui sont beaucoup plus élevés que les niveaux naturels, et ils augmentent rapidement à cause de tous les nouveaux appareils qui émettent ce rayonnement. »
Cette information est un effet séparé sur le corps du contrôle de l’esprit, mais il est toujours important de mentionner et d’apporter de la lumière.
Non seulement nos appareils électroniques surveillent, observent et enregistrent tout ce que nous faisons, mais ils peuvent aussi influencer notre comportement, nos perceptions, nos pensées et nos sentiments à grande échelle, mais qui sait si « les pouvoirs en place » utilisent ces appareils pour contrôler l’esprit, de la même manière qu’ils les utilisent pour surveiller.
Ne vous méprenez pas, il n’est pas difficile de voir comment les entreprises utilisent la télévision pour influencer notre comportement et nos perceptions, mais peut-être qu’elles, et d’autres autorités, sont en train de changer les choses, comme nous l’avons mentionné plus haut, et de manipuler nos systèmes nerveux à des fins personnelles et en connaissance de cause.
Chamath Palihapitiya, vice-président responsable de la croissance des utilisateurs de Facebook avant de quitter l’entreprise en 2011, a déclaré : « Les boucles de rétroaction à court terme, basées sur la dopamine, que nous avons créées, détruisent le fonctionnement de la société. Pas de discours civil, pas de coopération, de désinformation, que du mensonge. Donc, nous voyons un genre de chose similaire là-bas aussi. »
En matière de contrôle mental, le Projet MK Ultra était le bébé de la CIA. On croit généralement que ce n’est que du LSD qui a été utilisé sur des sujets humains, mais ce n’était qu’un seul programme. Comme la Cour Suprême des Etats-Unis l’a révélé en 1985, MK Ultra consistait en 162 projets secrets différents qui étaient indirectement financés par la CIA, et sous-traités à plusieurs universités, fondations de recherche et institutions similaires. La majorité des enregistrements du MK Ultra ont été détruits et n’ont jamais été vus.
Peut-être que la programmation télévisuelle faisait-elle partie du programme MK Ultra ?
Observations finales
Il est difficile d’imaginer que nous pourrions être manipulés et utilisés à des fins de profit, de contrôle et autres, mais c’est une réalité à laquelle nous devons faire face. Il y a d’innombrables exemples de ceci tout au long de l’histoire jusqu’à nos jours, et tous les aspects de la vie humaine semblent être contrôlés par un petit groupe très sélect du domaine de la santé, des finances, de l’éducation, du divertissement, de la grande nourriture et plus encore. Nous sommes devenus des outils pour leur utilisation, et nos pensées, nos comportements et nos perceptions, pour la plupart, semblent être les mêmes. S’ils sont un peu différents, ou s’ils ne s’adaptent pas vraiment au cadre, on peut être instantanément étiqueté ou devenir un « paria social ».
Il ne fait aucun doute que notre télévision et d’autres appareils électroniques ont des effets nocifs sur la santé, et qu’ils ont ou peuvent avoir des effets sur notre système nerveux de plusieurs façons différentes. Les données scientifiques à ce sujet sont claires, mais ce qui est moins clair, c’est l’idée qu’il y en a d’autres qui utilisent ces techniques, sciemment, pour contrôler nos esprits.
D’après toutes les recherches sur le contrôle mental, les mesures prises par nos gouvernements et la mesure dans laquelle ils les ont prises, on serait surpris que la télévision ne fasse pas partie du programme MK Ultra.
À toutes et à tous, c’est une autre bonne raison de passer moins de temps devant votre écran, et plus de temps avec un livre, passer du temps à l’extérieur, ou avec la famille et les amis. S’il y a une chose qui est certaine, c’est que nos écrans nuisent à notre santé de plusieurs façons.
yogaesoteric
22 mars 2020
Also available in:
