Docs Show Navy Got ‘UFO’ Patent Granted By Warning Of Similar Chinese Tech Advances (1)

 

The United States Secretary of Navy is listed as the assignee on several radical aviation technologies patented by an aerospace engineer working at the Naval Air Warfare Center Aircraft Division (NAWCAD) headquarters in Patuxent River, Maryland. One of these patents describes a “hybrid aerospace-underwater craft” claimed to be capable of truly extraordinary feats of speed and maneuverability in air, water, and outer space alike thanks to a revolutionary electromagnetic propulsion system.

A primary patent examiner at the United States Patent and Trademark Office (USPTO) thought so too. But then the Chief Technical Officer (CTO) of the Naval Aviation Enterprise personally wrote a letter addressed to the examiner claiming that the U.S. needs the patent as the Chinese are already “investing significantly” in these aerospace technologies that sound eerily similar to the UFOs reported by Navy pilots in now well-known encounters. This raises the question, are the Chinese developing or even already flying craft leveraging similar advanced technology and is the Navy now scrambling to catch up?

The Wondrous Inventions Of Dr. Salvatore Cezar Pais

The bizarre saga of the U.S. Navy and its sudden willingness to admit that its personnel regularly encounter unidentified objects in the skies keeps getting stranger. Why the sudden shift in policy? What is the motivation for disclosing these encounters to the public? News outlets of all types have for months been discussing the matter, yet we still don’t know exactly what is actually happening here.

Clearly, the narrative is being carefully controlled by the Department of Defense and the Navy. We can only base our speculation on what has been released to the public over the last few years through the media and what is public record. With that said, maybe the most curious additions to the still-developing saga is a set strange aerospace patents filed by one Salvatore Cezar Pais, an aerospace engineer at NAWCAD.

Little information can be found about Salvatore Cezar Pais; he has virtually no web presence. What is known is that he received a PhD in Mechanical and Aerospace Engineering from Case Western Reserve University in 1999 and that he currently works as an aerospace engineer for NAWCAD at Naval Air Station Patuxent River in Maryland – the Navy’s top aircraft test base.

Pais has published several articles and presented papers at American Institute of Aeronautics and Astronautics conferences over the years describing his work in electromagnetic propulsion, revolutionary room temperature superconductors, and topics like his PhD dissertation: “Bubble generation under reduced gravity conditions for both co-flow and cross-flow configurations.”

NASA helped fund his dissertation, a copy of which they have on their website here. A full list of his publications can be found here.

The Navy’s Patented Hybrid Underwater Aerospace Craft

Pais is named as the inventor on four separate patents for which the U.S. Navy is the assignee: a curiously-shaped “High Frequency Gravitational Wave Generator;” a room temperature superconductor; an electromagnetic ‘force field’ generator that could deflect asteroids; and, perhaps the strangest of all, one titled “Craft Using An Inertial Mass Reduction Device.” While all are pretty outlandish-sounding, the latter is the one that the Chief Technical Officer of the Naval Aviation Enterprise personally vouched for in a letter to the USPTO, claiming the Chinese are already developing similar capabilities.

The patent was first applied for on April 28, 2016, over a decade after the NimitzCarrier Strike Group encountered strange Tic Tac-shaped aircraftand nearly a year after Navy pilots across multiple squadrons flying out of Naval Air Station Oceana and NAS Norfolk experienced a string of bizarre encounters with unidentified aircraft, some of which, like the Tic Tac, seemed to possess exotic performance capabilities.

The hybrid aerospace-underwater craft in Pais’ patent, meanwhile, is described as being capable of incredible feats of speed and maneuverability and can fly equally well in air, water, or space without leaving a heat signature. This is possible, Pais claims in the patent, because the craft is able to “engineer the fabric of our reality at the most fundamental level” by exploiting the laws of physics.

The concept is fairly simple, although the engineering required to make it a reality is anything but. All matter contains energy on the quantum level. By theoretically creating its own incredibly dense and polarized energy field, the hybrid craft is claimed to be able to create a quantum ‘vacuum’ around itself which allows it to repel any air or water molecules with which it interacts. Thus, the craft can essentially ignore aerodynamic or hydrodynamic forces, or so it is claimed in the patent.

 
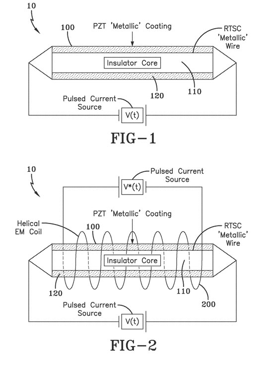
Hybrid Aerospace Underwater Craft

Throughout his patents and publications describing the hybrid aerospace underwater craft (HAUC), Pais writes that the radical feats of speed and maneuverability of which the craft is supposedly capable can be achieved by coupling “high-frequency axial spin” or “accelerated vibration” with “high-frequency vibrations of electrically charged systems.”

In other words, if you can a) create a room temperature superconductor capable of storing an incredibly high amount of energy and b) get the energy field created by that superconductor moving at incredibly high speeds around or within the craft, you can create a polarized energy vacuum around it which allows it to basically ignore the energy of the air or water around it, thereby removing its own inertia and mass from the equation.

In his most recent publication, Pais describes the hybrid aerospace underwater craft as a roughly cone-shaped vehicle that would appear round from the front or rear: “the HAUC is conical in configuration, with an elliptical cross-section, similar in geometry to a hypersonic glide vehicle / dart.” Interestingly enough, the descriptions of the craft in several of Pais’ publications and even the patent for “Craft using an inertial mass reduction device” include room for a crew compartment shielded by a Faraday cage.

Shortly after the patent for the hybrid craft was approved in 2018, Pais presented another related paper, “Room Temperature Superconducting System for Use on a Hybrid Aerospace Undersea Craft” at the 2019 American Institute of Aeronautics and Astronautics SciTech Forum in San Diego this past January.

In the paper, Pais writes that “the achievement of room temperature superconductivity (RTSC) represents a highly disruptive technology, capable of a total paradigm change in Science and Technology,” and adds that its “military and commercial value is considerable.”

The capabilities described in the paper should certainly sound familiar to anyone who’s been following the Navy UFO stories over the last several years:

“It is possible to envision hybrid aerospace-undersea craft (HAUC), which can function as a submersible craft capable of extreme underwater speeds (lack of water-skin friction) and enhanced aerial/underwater stealth capabilities (non-linear scattering of RF and sonar signals). This hybrid craft would move with great ease through the air/space/water mediums, by being enclosed in a Vacuum/plasma bubble/sheath, due to the coupled effects of EM field-induced air/water particles repulsion and Vacuum energy polarization.”

 
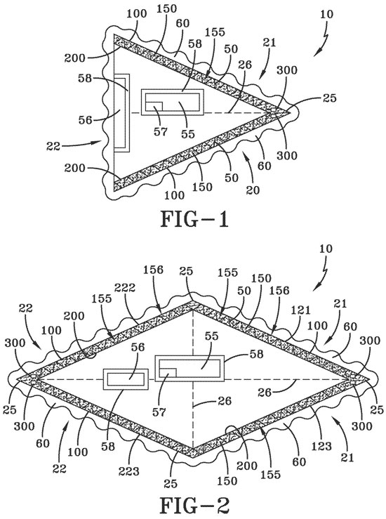
HUAC with Components Images of the craft in the patent application include a descriptions of the various components such a craft could possess such as: microwave emitters (300); a resonant cavity filled with a noble gas such as xenon (150); a crew compartment (55); a Faraday-type cage to protect crew against electromagnetic fields (58); a cargo bay (57); a power plant system (56); and a frustrum, or nose cone, which is „rotatable about its own axis (25).”

To understand the underlying theory behind the hybrid craft technology described in the patents, Dr. Brian Collett, a Hamilton College physics chair who teaches courses in electromagnetic theory and quantum physics helped explain.

Collett told that while patents and peer-reviewed articles about theoretical physics are one thing, the descriptions of the HAUC and the claims in Pais’ research “bear no more resemblance to quantum physics as I understand it than does ‘The Force’ from Star Wars.” Moreover, Collett adds, “a working room temperature superconductor would have far more radical uses that are actually within the bounds of possibility” than a hybrid craft that can theoretically create a quantum vacuum around itself.

Other physicists have stated the same thing – although most of them refused to go anywhere near on the record concerning the hybrid craft patent based on how outlandish it seems. Why then would the Naval Aviation Enterprise CTO personally vouch for this patent to the USPTO?

The ‘Future State of the Possible’

Just because something is patented doesn’t mean it’s currently in production or even possible. Private entities and the U.S. government both regularly patent forward-looking technologies to ensure that they own the rights to them when or if they’re ever fully realized. The patent for the hybrid craft is set to expire on September 28, 2036. That being said, the unorthodox circumstances surrounding the approval of this patent have us wondering why the Chief Technology Officer of the U.S. Naval Aviation Enterprise, Dr. James Sheehy, personally vouched for the legitimacy of this beyond-revolutionary aerospace technology in the Navy’s appeal to the USPTO.

Sheehy assured the patent examiner in charge of this application that the aircraft propulsion method described in the patent is indeed possible or will be soon based on experiments and tests NAWCAD has already conducted.

Plenty of commenters online have seen the patents and claimed that any old crackpot scientist can attempt to patent crazy-sounding technologies far beyond what is currently technologically feasible. It could be hesitated to call the CTO of the Naval Aviation Enterprise working on behalf of the Federal Government a crackpot. Then again, it’s not impossible.

The application was initially rejected by Patent Examiner Philip Bonzell on the grounds that “there is no such thing as a ‘repulsive EM energy field,’” and that “when referring to the specifications as to ascertain about the microwave emitters needed in this system it is seen that for a high energy electromagnetic field to polarize a quantum vacuum as claimed it would take 10^9 [T]eslas and 10^18 V/m.”

That’s roughly the equivalent to the magnetic strength generated by most magnetars and more electricity than what is produced by nuclear reactors.

Obviously, the examiner believed it’s impossible with today’s technology to create the insane amount of energy needed to generate the EM field that would propel this craft in the manner described in the patent application. What would be needed to generate such amounts of energy is perhaps the potentially revolutionary room temperature superconductor described in one of Pais’ other patents for which the Navy is listed as the assignee. Superconductors are materials that can conduct electricity with zero resistance, meaning the electrical currents carried through them never degrade or dissipate like they do in metals, such as copper or silver.

 
A drawing from Pais’ patent „Piezoelectricity-induced Room Temperature Superconductor.”

Superconductors also create their own repulsive magnetic fields when placed near magnets, enabling applications like the levitating Maglev trains currently floating at high-speed in Japan and China. Most superconductors today require extremely low temperatures to operate, however, making them impractical for most uses outside of laboratories or large scale industrial applications.

Room temperature superconductors for years have been something of a “Holy Grail” of science for engineers, because, once realized, they would open the doors for incredible new forms of power transmission and storage, electric motors, and magnetic levitation devices.

According to documents available to the public at the USPTO website, the Patent Office rejected Pais’ and the Navy’s application for this craft on March 30, 2018. After it was rejected, the NAWCAD’s patent attorney, Mark O. Glut, appealed the decision and submitted further documentation to ensure the patent office that this craft is indeed “enabled,” meaning it can actually be built and can perform as described in the patent.

 
USPTO Rejection Based on Energy Requirements One of the USPTO patent examiner’s grounds for rejection is based on the fact that the energy levels required by the craft are insanely high.

One of the most compelling items in the collection of appeal documents is the letter accompanying the final appeal written CTO Sheehy concerning the U.S. Patent Office’s rejection of “Craft Using an Inertial Mass Reduction Device.” In the letter dated 15 December 2017, Dr. Sheehy claims that Salvatore Pais has “already begun a series of experiments to design and demonstrate advanced High energy Density/High Power propulsion systems” that are described in the patent.

 
USPTO Final Rejection A notice of final rejection sent by the USPTO prior to receiving Dr. James Sheey’s letter.

Furthermore, Sheehy claims that “the realization of this result demonstrates that this patent documents the future state of the possible and moves propulsion technology beyond gas dynamic systems to field-induced propulsion based hybrid aerospace-undersea craft.”

Have a look at the letter yourself:

 
Sheehy Letter to USPTO Naval Aviation Enterprise Chief Technical Officer Dr. James Sheehy’s letter to the USPTO examiner in charge of the ‘hybrid craft’ patent.

It’s important to note that Sheehy doesn’t go so far as to say on the record that the Navy currently possesses this technology and instead notified Patent Examiner Philip Bonzell that he agrees that “this mode of acceleration/movement is beyond the state of the possible, at least at present.” Sheehy, of course, adds that “China is already investing significantly in this area” and “would prefer we [the U.S.] hold the patent as opposed to paying forever more to use this revolutionary technology” as he asserts “this will become a reality.”

Remarkably, it seems to boil down to the oil’ “we must not allow an Inertial Mass Reduction Device gap!” Perhaps because of that threat from the Chinese looming, the USPTO finally issued a notice of allowance for “Craft Using an Inertial Mass Reduction Device” to the Department of the Navy on October 31, 2018, at a fee of $1,000 USD. No reason was given for why the patent was eventually approved.

It’s important to note, as well, that U.S. patent law ends at America’s borders. The Navy can patent anything it wants to, but those patents would not necessarily keep a foreign country from developing and patenting similar technologies.

Read the second part of the article

 

yogaesoteric
September 18, 2019

Spune ce crezi

Adresa de email nu va fi publicata

Acest site folosește Akismet pentru a reduce spamul. Află cum sunt procesate datele comentariilor tale.

This website uses cookies to improve your experience. We'll assume you're ok with this, but you can opt-out if you wish. Accept Read More